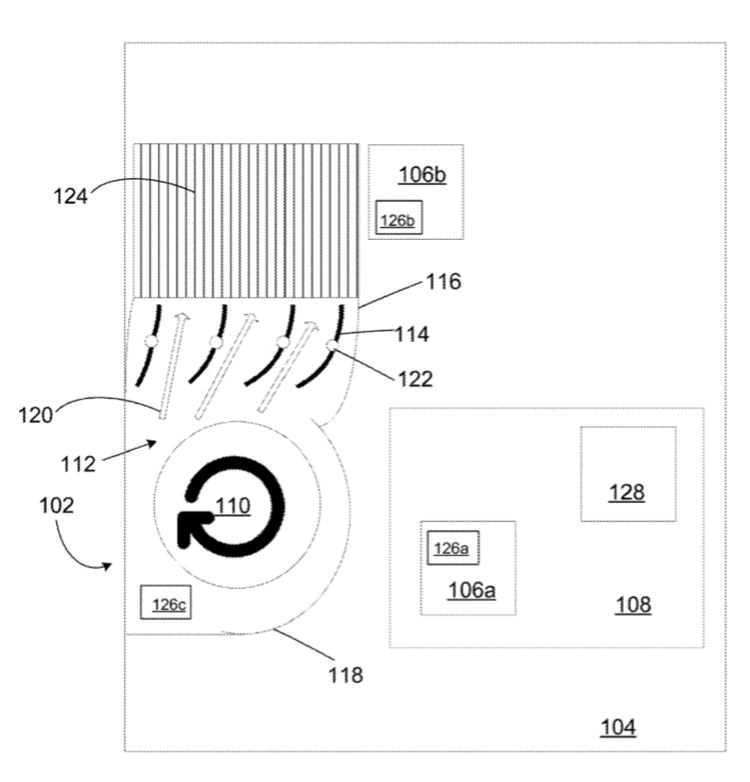
凭证一份公示的专利文件,微软已经研发出了一种加倍静音、高效的散热治理系统。凭证最新披露的专利文件显示,微软Surface Book 3或将接纳全新的自顺应气流系统。微软在文件中示意,全新的气流导向方案可以为条记本电脑提供最佳的散热效果并在多种旋转风扇速率下将装备噪音降至最低,此台系统另有助于提高装备性能并增添Surface Book的预期寿命。

在风扇中增添导向器实在贴吧老哥在2012年就已经实验过了,在风扇中增添塑料片,使得风扇出风尽可能平均,从而到达增强的散热的效果。不外由于差异条记本风扇造型纷歧样,现实导流板安装位置都有所差距,只适合着手能力较强的玩家举行操作。点这里直达贴吧风扇风道分流贴。


而微软这套专利中的导向器设计相对优良,能够凭证风扇风道流向专门设计导流器,气体平均出风效果应该会加倍显著,而至于降噪效果,小我私人预测应该是增添导流器后,散热效能增添,在保持散热效能稳固的情形下降低风扇转速,从而到达降噪效果。
若是微软这套专利证实有不错的效果,并能被其他厂家所学习,这将有助于提升各种条记本的散热能力。

